Bolt's Patent On E-Scooter Charging StationsBelgium Hits Record 23.7k Speed Pedelecs in 2025, Lime replaces Beryl in West-Midlands, New Jersey E-Bike Rules Tighten, South Korea Logs 98M E-Scooter Trips and more...Fresh rides, bold takeovers, and everything in between. Micromobility Weekly is your pit stop for the industry’s sharpest twists, turns, and takeovers. Come Ride Along! Got Your Micromobility Moment To Share? Email - press@micromobility.io Hooked but not subscribed? 👀 Now’s the time. You’ll thank yourself later. Micromobility Europe 2026Still reading? We’re glad! Micromobility Europe 2026 just dropped its best ticket price. Join us June 2-3, 2026, at Arena Berlin for two days of high-energy keynotes, panels, live demos, and hands-on networking with the global micromobility community. The New Year Sale on General Admission tickets is live at just €349 for a limited time. Sale ends January 31!The clock is ticking. Grab your tickets before it’s too late! Spots are filling fast! Secure yours today and be part of Europe’s bespoke event for all things micromobility. Check Micromobility America 2026 (November 11-12) hereWhat You Need to Know TodaySpark Park - Startup Arena MME 2025In this Startup Arena Pitch at Micromobility Europe 2025, Igor Pancevski, Co-Founder and CEO of Sparkpark, presents a lightweight, infrastructure-free approach to managing shared micromobility in cities. Built around the idea of responsible micromobility, Sparkpark’s patented technology uses existing Bluetooth signals to localize shared e-scooters and e-bikes with centimeter level accuracy, without relying on docking stations or GPS-based systems. The wireless, solar-powered solution is quick to install and easy to scale across urban environments. For the MME 2026, Early Bird pricing for the Startup Arena is live! Save your spot at a discounted rate, only until 31 Jan.Belgium Hits Record 23.7K Speed Pedelecs in 2025Belgium recorded its highest ever speed pedelec registrations in 2025, with 23.7k bikes registered, according to TRAXIO. New registrations rose modestly to 14.1k (+2.6% YoY), while the second-hand market surged 24% to 9.6k, accounting for over 40% of total registrations. Growth continues to be driven by company leasing, which now represents 62% of new sales, as private buyers increasingly opt for used bikes. Adoption remains heavily concentrated in Flanders (97.5%), supported by strong cycling infrastructure and long-distance commuting needs, confirming speed pedelecs as a mainstream mobility option in Belgium. South Korea Logs 98m e-Scooter TripsShared e-scooter rides in South Korea reached a record 98m trips in 2025, driven largely by young users and commuters. Around 14.6m users have registered across the four leading shared micromobility operators. Short trips are driving this growth. The surge highlights the expanding role of shared micromobility in urban transportation across Korean cities. Boise Shared Micromobility Hits 900k ridesIn Boise, Idaho, US, shared micromobility ridership continued to climb in 2025, with just over 900k rides, up from 607k in 2024, driven largely by e-scooters. In 2023, the city moved to a single-operator model, selecting Lime to improve oversight, complaint handling, and equitable distribution. Under the contract, no more than 40% of devices can be concentrated downtown, ensuring wider city coverage. Lime pays the city $100k annually, plus $0.10 per trip and $106 per device relocated due to complaints, as ridership continues to expand beyond the city core. New Jersey E-Bike Rules TightenedNew Jersey has passed one of the country’s strictest e-bike laws, now requiring all e-bike riders to obtain a license, register their bike, and carry insurance, following rising crashes, including recent fatalities. Gov. Phil Murphy signed the bill into law, reclassifying all e-bikes as motorized bicycles with uniform rules and six-month compliance deadlines. Riders must be at least 17 with a driver’s license or 15 with a motorized bicycle license, with fines for violations after the grace period. Voi CEO Fredrik Hjelm on Shared Micromobility GrowthFredrik Hjelm, CEO of Voi, noted that by 2025, micromobility had moved past its make-or-break phase and into a more stable period of growth. The focus shifted from whether micromobility could work to figuring out how to make it work well. Attention turned to basics like vehicle lifespan, real unit economics, regulatory clarity, and tighter operations. Better hardware and software made fleets last longer and run more efficiently, while clearer rules replaced the free-for-all of early expansion. Bikes and scooters are now used as everyday transport, not treated as urban experiments.
Pinecone Reaches 454k Shared E-Bikes Ahead of IPOPinecone Mobility (Songguo), a leading shared e-bike operator in China, has expanded its fleet to 454.6k bikes across 422 cities as it prepares for a Hong Kong IPO. Founded in 2017, the company has grown rapidly in China’s peripheral markets and now ranks fourth nationally by fleet size and transaction volume. Powered by a proprietary AI-based operations system and in-house e-bike manufacturing, Pinecone focuses on short and medium distance urban travel. Ahead of its listing, the company reported improving unit economics, stable revenue of $103m in the first 9 months of 2025 and net losses narrowing significantly. Pinecone filed its prospectus with HKEX on January 2, aiming to fund further domestic expansion, strengthen technology and R&D, develop direct e-bike sales, and lay the groundwork for future international growth. Xiaomi Launches e-Scooter 6 LiteXiaomi has introduced the e-scooter 6 Lite, the most affordable model in its new Scooter 6 lineup, aimed at short urban trips. The scooter features a 300W motor with 500W peak power, a top speed of 25 km/h, and a claimed range of up to 25 km. It comes with front dual-spring suspension, 10-inch pneumatic tires, drum and E-ABS braking, and smart features via the Xiaomi Home app, including ride data, motor lock, and energy recovery settings. The lightweight 18.1 kg frame supports up to 100 kg, offers IPX-rated water resistance, and includes three riding modes. Pricing has not yet been announced.
Charlottesville Expands E-Bike VouchersIn Charlottesville, Virginia, US, the city has expanded its e-bike voucher program for 2026, offering 12 vouchers per quarter across three tiers worth up to $1.5k to make e-bikes more affordable. In 2025, the city funded 100 vouchers but ultimately awarded 112, with a redemption rate of about 70% overall and 81% across the first three quarters. Lower-income applicants showed lower redemption rates, often citing cost barriers even with vouchers. Early interest remains strong, with 248 applications already submitted for the first 2026 drawing. Lime Replaces Beryl in MidlandsIn the UK, Lime has been appointed as the new provider for the West Midlands cycle and e-scooter hire scheme, replacing Beryl when its contract ends in March 2026. The expanded service will deploy more than 2k e-bikes and e-scooters from April, covering Birmingham and areas currently served, with plans to grow across the wider region. The new partnership will operate at no cost to taxpayers, saving about £1.4m a year in public funds by maintaining current price levels for at least two years.
Authors: Jan Střecha, Bettina Anker, Mark Romanelli, Louis Moustakas (2025) Got your micromobility moment to share? Email us at press@micromobility.io Loving the vibe? Hop on and ride with us! Subscribe! You're currently a free subscriber to The Micromobility Newsletter. For the full experience, upgrade your subscription. |
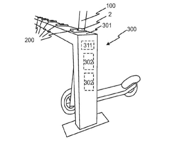
Bolt's Patent On E-Scooter Charging Stations
Thursday, 22 January 2026
Subscribe to:
Post Comments (Atom)













No comments:
Post a Comment